企業做私域運營已經是當下各行各業的共識了,但用戶導流企微一直是一道巨大的阻礙,本文將詳細介紹如何借助營銷活動和工具將客戶自動化導流到企業微信中進行私域用戶管理。
不少企業的crm中都存有大量老客戶(會員),但系統里只留有客戶的電話、QQ或微信號,以及客戶銷售跟進的小計,經常只能通過短信群發企圖產生一些復購,沒有辦法與微信營銷動作進行關聯,相當被動。在這種情況下,這些老客戶資源對于企業在某種角度上來說變得一文不值。
隨著企業獲客成本越來越高,轉化率越來越低,更多的頭部機構都開始將現有老客戶統統導入企業微信進行“私域運營”,利用SCRM系統自動根據用戶內容瀏覽行為挖掘需求并通過標簽分類精準營銷,已經取得大量月百萬新增營業額的成功案例。因此,把客戶導流到企業微信已經成為時下企業私域營銷的剛需。
本文將通過快商通在家居行業某龍頭企業的實戰案例,詳細介紹如何利用AI外呼機器人+RPA自動加微信機器人+SCRM系統將企業CRM客戶數據全自動導流到企業微信的具體流程。
先將企業現有客戶(會員)資源從CRM系統批量導出excel文件,接著導入快商通AI外呼機器人系統,形成批量外呼任務。

將導出的客戶數據導入快商通AI外呼
注意:可以根據客戶購買產品為標簽進行分類導出,方便針對這部分客戶的共性進行話術設計。
設定好外呼規則,讓擬人化的快商通AI外呼機器人自動撥打電話篩選意向客戶。為了將客戶轉微信意向度控制在健康的維度,我們會在話術中配合營銷鉤子來操作,具體方式如下:
1、咨詢客戶是否曾經買過XX品牌的XX產品,喚醒其對品牌的購買記憶,提升信任度。
2、拋出營銷鉤子,以即時利益點(如優惠券、禮品)+長期利益點(如健康顧問微信、優惠活動隨時通知)的組合讓客戶同意添加微信。
3、加深即時利益點的驅動力度(比如說同樣是贈送一瓶護膚精華,我們在AI外呼話術上會跟客戶強調贈送的是限定款或聯名款)讓客戶加微意向度增加。

AI外呼逐個撥打電話
(得益于快商通的智能外呼機制,未接通的客戶外呼任務還會自動加入隊列中進行呼叫,直至成功客戶完成溝通并產生意向判斷結果為止)
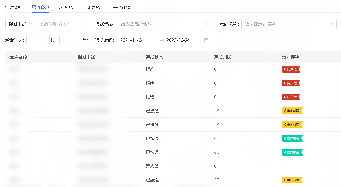
AI外呼機器人使用上了快商通最新的NLP自然語言處理技術,會根據客戶表達內容、語氣、態度并結合業務內容去智能的判定客戶添加微信的意愿度。在外呼任務執行結束后,營銷人員會得到類似這樣的呼叫結果,系統會用不同顏色標簽來表示客戶溝通意向結果(客戶意向一目了然)。

AI外呼后的客戶意向度
在AI外呼的過程中,只要一獲取到標簽為較強意向的客戶,系統就會自動將該電話號碼實時同步到SCRM系統中,讓rpa機器人自動搜索添加微信,客戶在掛完電話后的數秒內就能收到添加好友的申請。

rpa機器人自動添加好友
當客戶通過好友驗證后,SCRM系統就會將預設的營銷話術內容自動發送給客戶,并且實時記錄客戶訪問小程序、公眾號內容的具體時間、次數以及轉發收藏動作。 自此,我們就完成了客戶從企業crm導流到企微的自動化操作了。

客戶通過好友后收到自動回復內容
通過快商通的AI外呼智能篩選意向客戶+RPA機器人自動加好友,企業可以輕松的將CRM內現有的客戶批量導流到企業微信,整個過程全部自動化執行,無需人工干預,后續便可以通過SCRM系統對客戶的私域內容瀏覽行為進行記錄和管理,并使用SOP、社群裂變等功能進行私域營銷轉化和用戶增長了。
服務熱線:400-900-1323
地址:廈門市集美軟件園三期B20棟11-13層
掃碼關注微信公眾平臺